+86 311 6603 0586
+86 311 6603 0586
Product Description

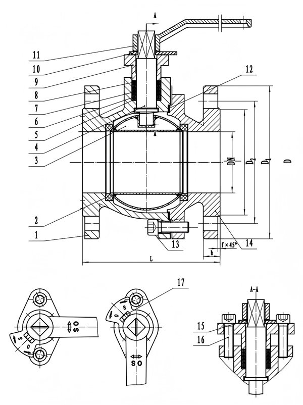
| DN | L | D | Dā | Dā | b | f | Z-φd | |
| 40 | 140±2 | 150 | 110 | 88 | 18 | 3 | 4-φ19 | |
| 50 | 150±2 | 165 | 125 | 102 | 20 | 3 | 4-φ19 | |
| 65 | 170±2 | 185 | 145 | 122 | 20 | 3 | 4-φ19 | |
| 80 | 180±2 | 200 | 160 | 138 | 22 | 3 | 8-φ19 | |
| 100 | 190±2 | 220 | 180 | 158 | 24 | 3 | 8-φ19 | |
| 125 | 325±2 | 250 | 210 | 188 | 26 | 3 | 8-φ19 | |
| 150 | 350±2 | 285 | 240 | 211 | 26 | 3 | 8-φ23 | |
| 200 | 400±2 | 340 | 295 | 266 | 30 | 3 | 12-φ23 | |
| Size | DN40-200 | ||
| Pressure | PN16 | ||
| TEMP ā | 0~200 | ||
| TEST | Seal (water) | PN17.6 | |
| Shell (water) | PN24 | ||
| Medium | Water, oil, gas | ||
| 17 | Bolt | Carbon steel | ||||||
| 16 | Nut | Carbon steel | ||||||
| 15 | Circle | 65Mn | ||||||
| 14 | Body | GG25 | ||||||
| 13 | Nut | 35 | ||||||
| 12 | Gasket | Teflon | ||||||
| 11 | Lever | GGG50 | ||||||
| 10 | Limit RETAINER | Carbon steel | ||||||
| 9 | Packing Gland | GG25 | ||||||
| 8 | Packing | Teflon | ||||||
| 7 | Packing | Teflon | ||||||
| 6 | Packing | Teflon | ||||||
| 5 | Packing Gland | Carbon steel | ||||||
| 4 | Stem | SS420 | ||||||
| 3 | Ball | SS304 | ||||||
| 2 | Seat | Teflon | ||||||
| 1 | Body | GG25 | ||||||
| Name | Material | |||||||
Have A Question?
Write to Us!
Tel:
+86 311 6603 0586
E-mail:
WhatsApp:
Add.:
Office Building A, Yueyahe West Road, Xiaozhan Town, Jinnan District, Tianjin
Get in Touch
Related products