+86 136 1311 4201

+86 311 6603 0586

sales@pgvalve.com

Home / Products / Hydraulic Control Valve / Pressure Reduce Valve

Pressure Reduce Valve

Product Description

DN50-300

Floating Valve

 

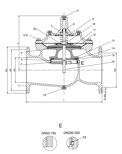
No. Description Material Standard
Body Ductlie Iron GJS 500-7
Seat Stainless Steel AISI 304/316
O-ring Rubberr NBR
O-ring Rubber NBR
Bolt Stainless Steel A2/A4
Washer Stainless Steel A2/A4
Bonnet Ductile Iron GJS 500-7
Bush Brass C61900
Spring Stainless Steel AISI 304/316
10  Caulking Nut Stainless Steel A4
11  Diaphragm Nylon Reinforced
Rubberr
EPDM+Nylon
Fabric
12  Fixing holder Ductlie Iron GJS 500-7
13  Disc Holder Ductlie Iron GJS 500-7
14  Seal Rubber EPDM
15  Seat Retainer Stainless Steel AISI 304/316
16  Stem Stainless Steel AISI 304/316
17  Plug Stainless Steel AISI 304/316
18  Screw Stainless Steel A2/A4
19  Plug Stainless Steel A2/A4
20  Washer Stainless Steel A2/A4

 

DN400-800

Floating Valve

 

No. Description Material Standard
Body Ductlie Iron GJS 500-7
Seat Stainless Steel AISI 304/316
Screw Stainless Steel A2/A4
Screw Stainless Steel A2/A4
Screw Stainless Steel A2/A4
Spring Stainless Steel AISI 304/316
Bonnet Ductile Iron GJS 500-7
Bush Brass C61900
O-ring Rubber NBR
10  Fix Washer Brass C61900
11  Diaphragm Nylon Reinforced
Rubber
EPDM+Nylon
Fabric
12  Eye Bolts Carbon Steel 1040 
13  Fixing Holder Ductlie Iron GJS 500-7
14  Disc Holder Ductlie Iron GJS 500-7
15  Seal Rubber EPDM
16  Seal Retainer Ductile Iron GJS 500-7
17  Stem Stainless Steel AISI 304/316
18  Plug Stainless Steel AISI 304/316
19  O-ring Rubber NBR
20  Cap Ductlie Iron GJS 500-7
21  Plug Stainless Steel AISI 304/316
22  Screw Stainless Steel A2/A4
23  O-ring Rubber NBR
24  Screw Stainless Steel A2/A4

Main Dimensions

DN50-300

 

DN L H ØD ØK N-Ød ØB
PN10 PN16 PN25 PN10 PN16 PN25 PN10 PN16 PN25 PN10 PN16 PN25
50 230 177 165 165 165 125 125 125 4-Ø19 4-Ø19 4-Ø19 Ø99 Ø99 Ø99
65 290 202 185 185 185 145 145 145 4-Ø19 4-Ø19 8-Ø19 Ø118 Ø118 Ø118
80 310 219 200 200 200 160 160 160 8-Ø19 8-Ø19 8-Ø19 Ø132 Ø132 Ø132
100 350 243 220 220 235 180 180 190 8-Ø19 8-Ø19 8-Ø23 Ø156 Ø156 Ø156
*125 400 243 250 250 270 210 210 220 8-Ø19 8-Ø19 8-Ø28 Ø156 Ø156 Ø156
150 480 333 285 285 300 240 240 250 8-Ø23 8-Ø23 8-Ø28 Ø211 Ø211 Ø211
200 600 428 340 340 360 295 295 310 8-Ø23 12-Ø23 12-Ø28 Ø266 Ø266 Ø274
250 730 478 405 405 425 350 355 370 12-Ø23 12-Ø28 12-Ø31 Ø319 Ø319 Ø330
300 850 538 460 460 485 400 410 430 12-Ø23 12-Ø28 16-Ø31 Ø370 Ø370 Ø389

 

DN400-800

 

DN L H ØD ØK N-Od OB
PN10 PN16 PN10 PN16 PN10 PN16 PN10 PN16
400 1100 710 580 580 515 525 16-Ø28 16-Ø31 480 480
*450 1200 720 640 640 565 585 20-028 20-031 530 548
500 1250 822 715 715 620 650 20-Ø28 20-034 582 609
600 1450 885 840 840 725 770 20-Ø31 20-037 682 720
*700 1650 910 910 910 840 840 24-031 24-Q37 682 720
800 1850 1260 1025 1025 950 950 24-Q34 24-Ø40 901 901

 

Note: 1. *DN450/700 use same internal as DN400/600.

2. AISI 304 factory standard material.consult factory for AISI 316 material.

Have A Question?
Write to Us!

Get in Touch

Related products